| Code | Каталожный номер | Qty | Part name | Applied S/N range | ICA | Наличие на складе |
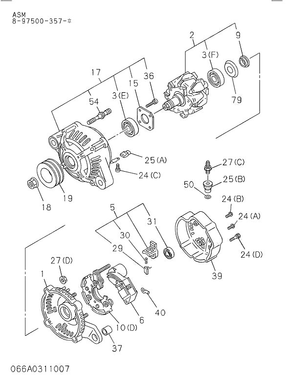
| 001 | 1812142640 | 1 | COVER ASM; RR,GEN | 198308 - 199006 | |
| 001 | 1812297190 | 1 | COVER ASM; RR,GEN | 199007 - | |
| 001 | 1812142650 | 1 | COVER ASM; RR,GEN | 199904 - | |
| 002 | 1812110660 | 1 | ROTOR; GEN | 199904 - | |
| 002 | 1812110660 | 1 | ROTOR; GEN | 198308 - | |
| 003 | 1812294000 | 1 | BEARING; ROTOR,GEN | 198308 - | |
| 003 | 1812299010 | 1 | BEARING; ROTOR,GEN | 199904 - | |
| 003 | 1812299020 | 1 | BEARING; ROTOR,GEN | 199904 - | |
| 003 | 1812294560 | 1 | BEARING; ROTOR,GEN | 198308 - | |
| 006 | 1812700130 | 1 | REGULATOR ASM; VOLTAGE,GEN | 198308 - | |
| 010 | 1812180140 | 1 | RECTIFIER; GEN | 198308 - | |
| 011 | 1812142650 | 1 | COVER; RR,GEN | 198308 - | |
| 012 | 9822151590 | 1 | KEY; ROTOR,GEN | 198308 - | |
| 013 | 1812291050 | 1 | GASKET; ROTOR,GEN | 198308 - | |
| 013 | 1812291040 | 1 | GASKET; ROTOR,GEN | 198308 - | |
| 013 | 1812293980 | 1 | GASKET; ROTOR,GEN | 199904 - | |
| 015 | 1812290500 | 1 | RETAINER; ROTOR,GEN | 198308 - | |
| 015 | 1812293980 | 1 | RETAINER; ROTOR,GEN | 198308 - | |
| 016 | 1812296540 | 1 | TERMINAL ASM; RECTIFIER,GEN | 199904 - | |
| 016 | 1812297180 | 1 | TERMINAL ASM; RECTIFIER,GEN | 199904 - | |
| 016 | 5812291660 | 1 | TERMINAL ASM; RECTIFIER,GEN | 199904 - | |
| 017 | 1812130540 | 1 | COVER ASM; FRT,GEN | 198308 - | |
| 019 | 1812220720 | 1 | PULLEY; GEN | 198308 - | |
| 021 | 1812293390 | 4 | BOLT; THROUGH,GEN | 198308 - | |
| 022 | 1812110650 | 1 | STATOR; GEN | 198308 - | |
| 022 | 1812110650 | 1 | STATOR; GEN | 199904 - | |
| 023 | 1812120050 | 1 | COIL; ROTOR GEN | 198308 - | |
| 024 | 1812294020 | 1 | SCREW; RECTIFIER,GEN | 199904 - | |
| 039 | 1812141840 | 1 | COVER; END,RR COVER,GEN | 198308 - | |
| 048 | 1812180150 | 3 | DIODE; GEN | 199904 - | |
| 065 | 8944103390 | 1 | CONDENSER; GEN | 198308 - | |
| 075 | 1812700130 | 1 | CLIP; WIRE,GEN | 199904 - | |
| 086 | 1812290490 | 1 | NUT SET; PULLEY,GEN | 198308 - | |