| Code | Каталожный номер | Qty | Part name | Applied S/N range | ICA | Наличие на складе |
| Service code | @111 | 0 | Part No. | Part name | |
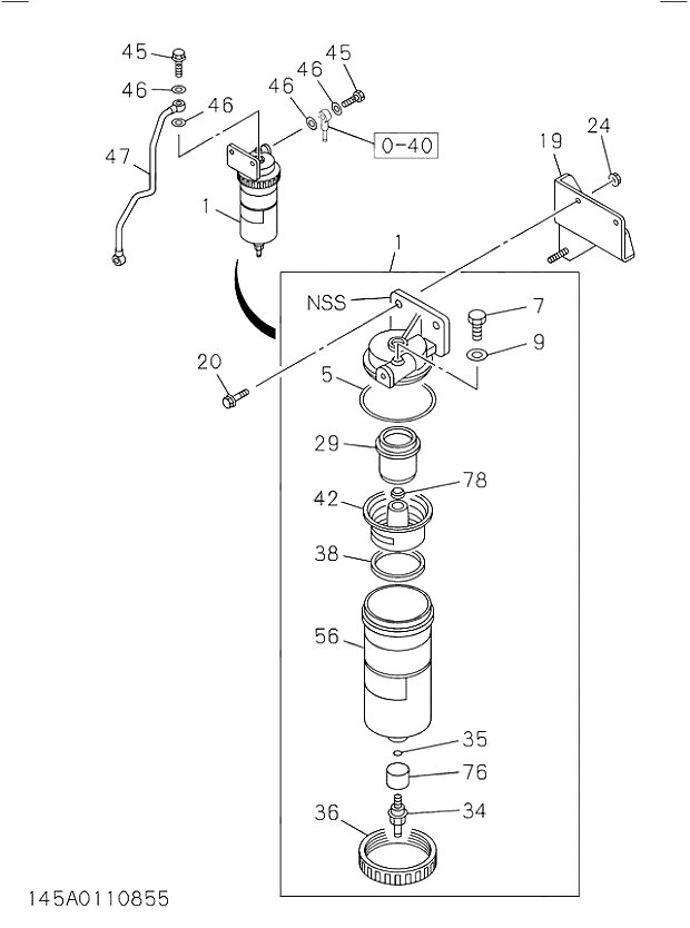
| @222 | 1 | 1132009600 | SEDIMENTER; FUEL | |
| @333 | 1 | 1132009600 | SEDIMENTER; FUEL | |
| @444 | 5 | 1096236100 | GASKET; UPR COVER,SEDIMENTER | |
| @555 | 5 | 1096236100 | GASKET; UPR COVER,SEDIMENTER | |
| @666 | 7 | 1096040770 | PLUG; DRAIN,SEDIMENTER | |
| @777 | 7 | 1096040770 | PLUG; DRAIN,SEDIMENTER | |
| @888 | 9 | 1096301180 | GASKET; DRAIN PLUG & CONNECTOR | |
| @999 | 9 | 1096301180 | GASKET; DRAIN PLUG & CONNECTOR | |
| @101010 | 29 | 1132192120 | SCREEN ASM; SEDIMENTER | |
| @111111 | 29 | 1132192120 | SCREEN ASM; SEDIMENTER | |
| @121212 | 34 | 1132192110 | PLUG; DRAIN,FUEL FILTER | |
| @131313 | 34 | 1132192110 | PLUG; DRAIN,FUEL FILTER | |
| @141414 | 35 | 1096234730 | GASKET; DRAIN PLUG | |
| @151515 | 35 | 1096234730 | GASKET; DRAIN PLUG | |
| @161616 | 36 | 1132192081 | RING; BODY TO CASE | |
| @171717 | 36 | 1132192081 | RING; BODY TO CASE | |
| @181818 | 38 | 1132192100 | FLOAT; SEDIMENTER | |
| @191919 | 38 | 1132192100 | FLOAT; SEDIMENTER | |
| @202020 | 42 | 1132192090 | PLATE; BAFFLE | |
| @212121 | 42 | 1132192090 | PLATE; BAFFLE | |
| @222222 | 45 | 1096750630 | BOLT; EYE,FUEL PIPE | |
| @232323 | 45 | 1096750860 | BOLT; EYE,FUEL PIPE | |
| @242424 | 45 | 1096750860 | BOLT; EYE,FUEL PIPE | |
| @252525 | 46 | 1096300850 | GASKET; FUEL PIPE | |
| @262626 | 56 | 1132112550 | CASE; FUEL SEDIMENTER | |
| @272727 | 56 | 1132112550 | CASE; FUEL SEDIMENTER | |
| @282828 | 76 | 1132192130 | CUP; DRAIN | |
| @292929 | 76 | 1132192130 | CUP; DRAIN | |
| @303030 | 78 | 1093331330 | GASKET; BAFFLE PLATE | |
| 313131 | 78 | 1093331330 | GASKET; BAFFLE PLATE | |