















| Code | Каталожный номер | Qty | Part name | Applied S/N range | ICA | Наличие на складе |
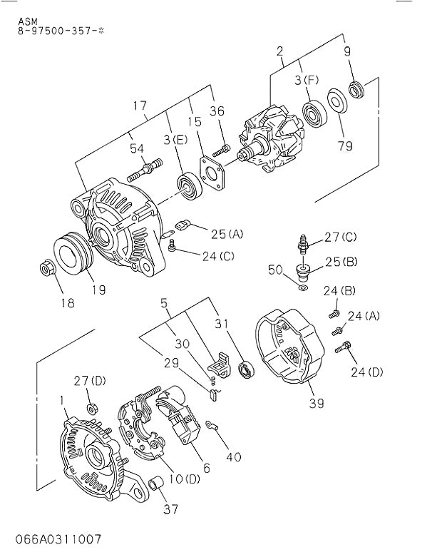
| 1 | 1812143672 | 1 | COVER ASM; RR,GEN | 198911- | ||
| 2 | 1812211020 | 1 | ROTOR; GEN | 198911- | ||
| 003(A) | 1812297700 | 1 | BEARING; ROTOR,GEN | 198911- | ||
| 003(B) | 1812297690 | 1 | BEARING; ROTOR,GEN | 198911- | ||
| 004(C) | 1812298390 | 1 | TERMINAL; BRUSH,GEN | 200001- | ||
| 6 | 1812600171 | 1 | REGULATOR ASM; VOLTAGE,GEN | 198911- | ||
| 010(D) | 1812298330 | 1 | RECTIFIER; GEN | 198911- | ||
| 16 | 1812297710 | 1 | TERMINAL ASM; RECTIFIER,GEN | 198911- | ||
| 17 | 1812131010 | 1 | COVER ASM; FRT,GEN | 198911- | ||
| 19 | 1812221301 | 1 | PULLEY; GEN | 198911-200601 | ||
| 19 | 1812221790 | 1 | PULLEY; GEN | 200602- | ||
| 22 | 1812111290 | 1 | STATOR; GEN | 198911- | ||
| 23 | 1812120160 | 1 | COIL; ROTOR GEN | 198911-201111 | ||
| 23 | 8982001730 | 1 | COIL; ROTOR GEN | 201112- | ||
| 027(B) | 1812297720 | 1 | NUT; RECTIFIER,GEN | 198911- | ||
| 36 | 1812297680 | 4 | SCREW; FRT COVER | 199912- | ||
| 043(A) | 1812297740 | 1 | SCREW; RR END COVER | 198911- | ||
| 043(B) | 1812298320 | 1 | SCREW; RR END COVER | 198911- | ||
| 043(C) | 1812297730 | 1 | SCREW; RR END COVER | 198911- | ||
| 069(D) | 1812298360 | 1 | CLIP; WIRE,GEN | 200001- | ||
| 86 | 8971781340 | 1 | NUT SET; PULLEY,GEN | 199904- | ||
| 127 | 1812297670 | 1 | BOLT SET; GEN | 199912- |